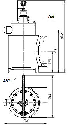
Клапан трёхпоточный регулирующий ЭИ 68.300М
| Проход условный (размер номинальный) DN | 300 |
| Рабочая среда | пар |
| Рабочее давление Рр, МПа | 1,4 |
| Рабочая температура Тр, °С | 440 |
| Перепад давления (max), МПа | Полный |
| Привод | МЭО 630/25-0,25 |
| Мощность, КВт | 0,2 |
|
Материалы: - корпус - седло, шток, поршень
|
сталь 12Х1МФ, 15Х1М1Ф и пр. высоколегированные стали и сплавы с поверх-ностным упрочнением, карбонитрацией |
| Уплотнения | ТРГ |
| Исполнение корпусов | - угловое |
| Ход запорного органа, мм | 130 |
| Время полного открытия/закрытия, сек *** | расчётное / по Т3 |
|
Максимальная площадь проходного сечения Fmax, см2 *** |
228 |
|
Максимальная пропускная способность Kv100,, т/ч *** |
расчётная / по ТЗ |
| Масса, кг | 408 |
*** - согласно ТЗ заказчика
Назначение: регулирование параметров пара в теплоэнергетических установках.
Применение: регулирующий орган подачи пара на концевые уплотнения паровых турбин.
Особенности конструкции: клапан трёхпоточный со сменными элементами проточной части; уплотнения из терморасширенного графита.
Привод типа МЭО, отдельно стоящий.
Клапаны эксплуатируются на Кураховской ТЭС
Параметры трубопроводов
|
DТр х S, мм |
|
90 х 5 |
|
530 х 11 |
|
530 х 12 |

