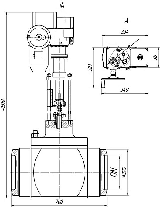
Клапан регулирующий питательный (РПК) ЭИ 10.200КЭ-01
|
Проход условный (размер номинальный) DN |
200 |
|
Рабочая среда |
питательная вода |
|
Рабочее давление Рр, МПа |
37,3 |
|
Рабочая температура Тр, °С |
280 |
|
Перепад давления (max), МПа |
полный |
|
Максимальное тяговое усилие на штоке, Н |
53 000 |
|
Привод |
МЭП 63000/25-100-14 |
|
Мощность, КВт |
1,9 |
|
Материалы: |
|
|
– корпус |
сталь 20 |
|
– клетка, плунжер, шпиндель |
высоколегированные стали и сплавы с поверхностным упрочнением, карбонитрациией |
|
Уплотнения |
ТРГ |
|
Исполнение корпусов |
проходное |
|
Ход поршня, мм |
100 |
|
Время полного открытия/закрытия, сек |
25 |
|
Максимальная площадь проходного сечения Fmax, см2 *** |
45 |
|
Максимальная пропускная способность Kv100, , т/ч *** |
140 |
|
Масса, кг |
544 |
Назначение: регулирование параметров рабочей среды в теплоэнергетических установках.
Применяемость: регулирующие органы в линиях питательной воды (РПК) котлов энергоблоков ТЭС, ТЭЦ.
Особенности конструкции: клапан имеет сменные элементы проточной части, затвор клеточного типа с разгруженным плунжером (золотником), три ступени снижения давления. Встроенный электропривод типа МЭП. Ремонт производится без демонтажа клапана из трубопровода путем замены затвора («клетка – плунжер», уплотнительные элементы). Расчётный срок эксплуатации – 200 тыс. часов.


