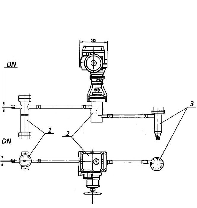
Устройство непрерывной продувки ЭИ 71.20
| Проход условный (размер номинальный) DN | 20 |
| Рабочая среда | Засоленная вода |
| Рабочее давление Рр, МПа | 20 |
| Рабочая температура Тр, °С | 350 |
| Перепад давления (max), МПа | Полный |
| Пространственное положение элементов | Любое |
| Масса, кг | 112 |

1. Фильтр грубой очистки 2. клапан регулирующий 3. патрон дроссельный
КНП 20Ф1 КРВ 20 МЭ КНП 20 Д1
Назначение: непрерывная продувка солевых отсеков верхнего барабана энергетических котлов барабанного типа.
Устройства эксплуатируются на ТЭС: Кураховской, Луганской, Бурштынской, Добротворской.
