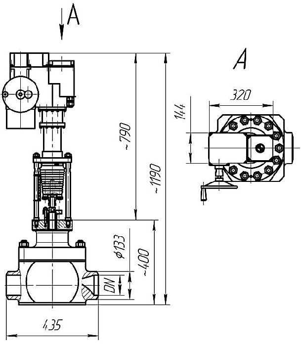
Клапан регулирующий ЭИ 53.100КЭ
|
Проход условный (размер номинальный) DN |
100 |
|
|
Рабочая среда |
питательная вода |
|
|
Рабочее давление Рр, МПа |
24,5 |
|
|
Рабочая температура Тр, °С |
250 |
|
|
Перепад давления (max), МПа |
полный |
|
|
Максимальное тяговое усилие на штоке, Н |
20000 |
|
|
Привод |
МЭП 25000/80-80У-14К |
|
|
Мощность, КВт |
0,3 |
|
|
Материалы: |
|
|
|
– корпус |
сталь 20 |
|
|
– клетка, плунжер, шток |
высоколегированные стали и сплавы с поверхностным упрочнением, карбонитрациией |
|
|
Уплотнения |
ТРГ |
|
|
Исполнение корпусов |
проходное |
|
|
Ход поршня, мм |
80 |
|
|
Время полного открытия/закрытия, сек |
80 |
|
|
Максимальная площадь проходного сечения Fmax, см2 *** |
10 |
|
|
Максимальная пропускная способность Kv100, , т/ч *** |
82,4 | |
|
Масса, кг |
270 | |
*** - согласно ТЗ Заказчика
Назначение: регулирование параметров рабочей среды в теплоэнергетических установках.
Примение: регулирующие органы в линиях питательной воды котельных агрегатов ТЭС, ТЭЦ (байпас основного РПК, пусковой РПК).
Особенности конструкции: клапан имеет сменные элементы проточной части, затвор клеточного типа с разгруженным плунжером (золотником), три ступени снижения давления. Встроенный электропривод типа МЭП. Ремонт производится без демонтажа клапана из трубопровода путем замены затвора («клетка – плунжер», уплотнительные элементы). Расчётный срок эксплуатации – 200 тыс. часов.
Клапаны эксплуатируются на энергоблоках 200 МВт следующих ТЭС: Кураховской.
Параметры трубопроводов:
|
DТр х S, мм |
|
133 х 19,5 |


