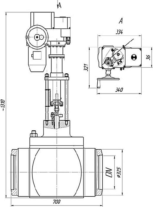
Клапан регулирующий питательный (РПК) ЭИ 10.250КЭ
|
Проход условный (размер номинальный) DN |
250 |
|
Рабочая среда |
питательная вода |
|
Рабочее давление Рр, МПа |
24,5 |
|
Рабочая температура Тр, °С |
250 |
|
Перепад давления (max), МПа |
полный |
|
Максимальное тяговое усилие на штоке, Н |
40 000 |
|
Привод |
МЭП 40000/63-100У-14К или МЭП 40000/100-100У-14К |
|
Мощность, КВт |
0,52 или 0,29 |
|
Материалы: |
|
|
– корпус |
сталь 20 |
|
– клетка, плунжер, шпиндель |
высоколегированные стали и сплавы с поверх-ностным упрочнением, карбонитрациией |
|
Уплотнения |
ТРГ |
|
Исполнение корпусов |
проходное |
|
Ход поршня, мм |
80 |
|
Время полного открытия/закрытия, сек |
50,4 или 80,0 |
|
Максимальная площадь проходного сечения Fmax, см2 *** |
58 |
|
Максимальная пропускная способность Kv100, , т/ч *** |
217 |
|
Масса, кг |
600 |
Особенности конструкции: клапан имеет сменные элементы проточной части, затвор клеточного типа с разгруженным плунжером (золотником), три ступени снижения давления. Встроенный электропривод типа МЭП. Ремонт производится без демонтажа клапана из трубопровода путем замены затвора («клетка – плунжер», уплотнительные элементы). Расчётный срок эксплуатации – 200 тыс. часов.


